
货号
产品规格
售价
备注
BN53441-48 wells
48 wells
¥2600.00
灵敏度:0.076ng/mL 检测范围:0.156-10ng/mL
BN53441-96 wells
96 wells
¥4300.00
灵敏度:0.076ng/mL 检测范围:0.156-10ng/mL
产品参数
实验类型: 竞争法
检测范围: 0.156-10ng/mL(特殊要求可定制)
灵敏度: 0.076ng/mL
种属: 猪
保存温度: 2-8℃
样本类型: 血清、血浆和其他生物液体。
四碘甲状腺原氨酸(T4)是由甲状腺产生和分泌的。T4 的每个分子由蛋白质和碘(以碘 化物形式)组成。它是含有4 个分子的碘化物,因此被称为T4。血液中甲状 腺激素的主要形式是 T4,它的半衰期比T3长。它在细胞内被脱碘酶(5′- 脱碘酶)转化为活性T3(比T4 强三到四倍)。这些物质通过脱羧和脱碘进 一步加工,产生碘甲胺(T1a)和甲状腺胺(T0a)。
可检测样本中猪的T4,且与其类似物无明显交叉反应。
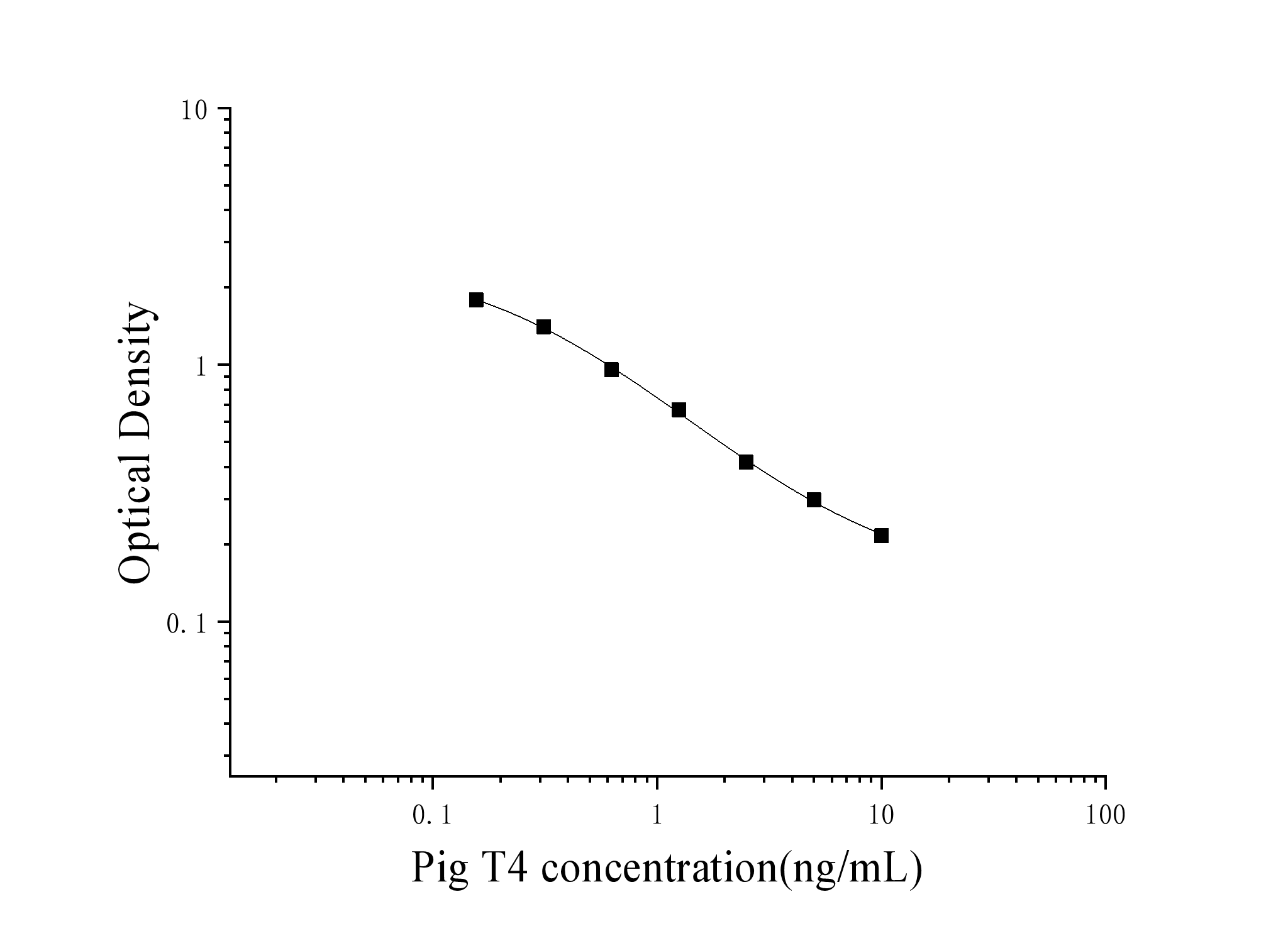
由于实验操作条件的不同( 如操作者、移液技术、洗板技术和稳定条件等),标准曲线的OD值会有所差异。以下数据和曲线仅供参考,实验者需根据自己的实验建立标准曲线。
| 浓度(ng/mL) | 10 | 5 | 2.5 | 1.25 | 0.625 | 0.312 | 0.156 | 0 |
| OD值 | 0.216 | 0.298 | 0.417 | 0.669 | 0.955 | 1.405 | 1.79 | 1.865 |

注意:本图仅供参考,应以同次试验标准品所绘标准曲线计算标本含量。
板内变异系数小于10%,板间变异系数小于10%
在选取的健康猪血清、血浆、中加入3个不同浓度水平的猪T4,计算回收率
| 样本类型 | 范围 | 平均回收率 |
| 血清(n=8) | 81-101 | 96 |
| 血浆(n=8) | 92-105 | 101 |
分别在选取的4份健康猪血清、血浆、中加入高浓度猪T4,在标准曲线动力学范围内进行稀释,评估线性。
| 稀释比例 | 回收率(%) | 血清 | 血浆 |
| 1:2 | 范围(%) | 83-95 | 88-96 |
| 平均回收率(%) | 91 | 93 | |
| 1:4 | 范围(%) | 89-104 | 87-108 |
| 平均回收率(%) | 94 | 98 |
注:ELISA试剂盒检测范围等数据,因检测样本 的不同而调整,实际数据以随货说明书为准。